Замена сайлентблоков балки — важная процедура для поддержания работы подвески автомобиля и продления срока службы компонентов. В статье рассмотрим эффективные способы выпрессовки и запрессовки сайлентблоков, что позволит выполнить эту задачу самостоятельно. Правильные методы и инструменты помогут сэкономить на ремонте и повысить безопасность и комфорт эксплуатации автомобиля.
Повод для замены
На изображении показан сайлентблок, требующий замены. Признаки износа:
- глубокие трещины;
- отслоение резины от обоймы.
Симптомы неисправности во время эксплуатации автомобиля: стуки и удары при проезде неровностей или стыков асфальта. Способы диагностики:
- Визуальный осмотр на наличие указанных дефектов.
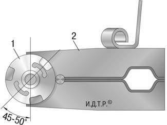
- Установка рычага между кронштейном крепления балки и сайлентблоком для проверки подвижности. Значительные повреждения или отслоения проявятся в виде люфта в месте запрессовки сайлентблока относительно кронштейна.
Эксперты в области автомобильного ремонта отмечают, что замена сайлентблоков балки является важной процедурой для поддержания устойчивости и комфорта автомобиля. Существует несколько способов выполнения этой задачи. Один из наиболее распространенных методов — использование пресса, который позволяет аккуратно извлекать старые сайлентблоки и устанавливать новые без повреждения балки. Также специалисты рекомендуют применять специальные съемники, которые упрощают процесс и минимизируют риск деформации деталей. В некоторых случаях, особенно при сильной коррозии, может потребоваться нагревание сайлентблоков для облегчения их удаления. Важно помнить, что качественная замена сайлентблоков не только улучшает управляемость автомобиля, но и продлевает срок службы подвески.

Особенности конструкции
Принципиальной разницы в сайлентблоках задней балки разных моделей автомобилей нет. Отличительной чертой той либо иной модели может быть лишь требование к положению сайлентблока относительно балки. На фото можно увидеть буферный элемент от Audi 80. Рекомендуется запрессовывать деталь в балку таким образом, чтобы ось прорезей располагались горизонтально по отношению к кузову транспортного средства.
Это не относится к деталям, у которых буфер цельнорезиновый, а корпус сайлентблока не имеет характерных выступов под крепления к кронштейну. Установить их можно в любом направлении. Но в любом случае следует следить за глубиной запрессовки. Большинство изделий запрессовываются заподлицо, но в некоторых вариантах конструкции сайлентблоки будут больше торчать в определенную сторону (к примеру, на Renault Trafic). Поэтому еще в процессе разборки следует замерить расположение детали. Если буфер не цельнорезиновый, при разборке нанесите краской либо нацарапайте пометку на корпусе сайлентблока и на посадочном месте балки. Это позволит вам при сборке установить сайлентблок точно так же, как это было сделано заводом изготовителем (при условии, что изделия не менялись до вас и были установлены правильно).
| Способ замены | Плюсы | Минусы | 
|---|---|---|
| Выпрессовка/впрессовка специальным инструментом | Высокая точность, минимальный риск повреждения балки и сайлентблока | Требуется специальный инструмент, высокая стоимость работ | 
| Вырезание старого и запрессовка нового сайлентблока | Доступность, возможность работы в гаражных условиях | Высокий риск повреждения балки, требует высокой точности и аккуратности | 
| Замена всей балки | Простота, гарантированная надежность | Высокая стоимость, необходимость поиска б/у балки или покупки новой | 
| Ремонт с использованием ремонтных втулок | Экономичность, возможность ремонта без специального инструмента | Не всегда эффективен, снижение ресурса сайлентблока | 
Интересные факты
Вот несколько интересных фактов о способах замены сайлентблоков балки:
- 
Методы замены: Существует несколько методов замены сайлентблоков, включая использование специального инструмента, такого как пресс для сайлентблоков, и более традиционные методы, такие как нагревание и использование молотка. Каждый метод имеет свои плюсы и минусы, и выбор зависит от конкретной ситуации и доступного оборудования. 
- 
Влияние на управляемость: Замена сайлентблоков балки может значительно повлиять на управляемость автомобиля. Изношенные сайлентблоки могут привести к ухудшению сцепления с дорогой, увеличению износа шин и даже к проблемам с подвеской. Поэтому регулярная проверка и замена этих элементов важна для безопасности и комфорта вождения. 
- 
Материалы сайлентблоков: Современные сайлентблоки изготавливаются из различных материалов, включая резину, полиуретан и даже металл. Полиуретановые сайлентблоки, например, предлагают лучшую жесткость и долговечность, что делает их популярным выбором для спортивных автомобилей и тюнинга, в то время как резиновые сайлентблоки обеспечивают более мягкую езду и комфорт. 
Инструмент и методы выпрессовки
На заводе сайлентблок устанавливается в балки и удерживается силой трения, поэтому его просто выбить не получится. Лучший способ — выпрессовать и запрессовать деталь с помощью специального съемника. Если такого инструмента нет, можно высверлить резиновый демпфер, чтобы ослабить натяжение, а затем разрезать внешнюю обойму ручной ножовкой по металлу. В интернете есть методы, где внешнюю обойму подгибают зубилом или забивают под отвертку, но такие способы могут повредить посадочное место в балке.
Съемник состоит из оправок, шпильки и двух гаек. Внешний диаметр одной из оправок, для которой лучше всего подойдет толстая шайба, должен совпадать или быть немного меньше диаметра внешней металлической обоймы сайлентблока со стороны выпрессовки. Вторая оправка служит упором и полостью для сайлентблока при выпрессовке; ее диаметр должен превышать внутренний диаметр посадочного места в балке. В качестве оправок можно использовать большие шайбы, обоймы от подшипников или куски труб подходящего диаметра. В продаже есть универсальные комплекты съемников для ступичных подшипников, которые подойдут для ремонта задней балки.
Кроме съемника понадобятся накидные ключи и головки для откручивания кронштейнов крепления балки и сайлентблока. При полном снятии задней балки нужно открутить нижнее крепление амортизатора и тормозной шланг, также потребуются ключи для прокачки тормозной системы. Работы удобнее выполнять со смотровой ямы.
Разборка
На примере Opel Zafia B будет описан метод замены сайлентблоков задней балки без полного снятия балки:
- Ослабьте гайку крепления сайлентблока к кронштейну.
- Открутите гайки крепления кронштейна к кузову автомобиля.
- Вытащите болт крепления и сам сайлент. Не забудьте пометить, как располагался сайлентблок относительно кронштейна! Операции №1-3 следует проделать и со второй стороной.
- Поднимите заднюю часть автомобиля домкратом и зафиксируйте на упорах. Балка должна немного опуститься, после чего у вас появится простор для выпрессовки.
- Соберите съемник таким образом, как это показано на фото и видео. Суть выпрессовки в том, чтобы удерживанием болта с одной стороны и закручиванием гайки со второй стороны создать необходимое усилие для выхода сайлентблока из посадочного места. На видео мастер засверливает внешнюю обойму резинового демпфера, ослабляя тем самым внутреннее натяжение. Но обратите внимание, что внешняя обойма имеет утолщение, позволяющее аккуратно просверлить отверстие. В случае с большинством изделий у вас подобный трюк не получится.

Запрессовка и сборка
Тщательно очистите место установки в балке. Лучше всего использовать металлическую щетку для дрели, но подойдет и обычная щетка с металлическими волокнами. Перед запрессовкой щедро смажьте посадочное место моторным маслом или другой смазкой. Резиновый демпфер в металлической оправе не пострадает от технических жидкостей и не сократит срок службы. Рекомендуется сделать небольшую фаску на внешней обойме со стороны запрессовки для облегчения установки.
Для запрессовки можно использовать тот же съемник. В качестве оправки подойдет обойма от старого сайлентблока. Если подходящих оправок нет, вырежьте квадрат толщиной 3-4 мм в качестве упора. В этом случае резиновый демпфер будет упираться в упорную пластину, и для достижения заподлицо под пластину потребуется что-то подложить.
Следите за тем, чтобы сайлентблок устанавливался без перекосов!
Если потребуется, соосность можно исправить, аккуратно постукивая по оправке молотком.
При установке кронштейна для поднятия и направления балки направьте балку в посадочное место вручную или с помощью домкрата. Возможно, достаточно просто опустить кузов. В любом случае ориентируйтесь на конкретную ситуацию. Сначала наживите все болты и гайки, затем затяните болты крепления кронштейна. После этого опустите автомобиль на колеса и зажмите болт крепления сайлентблока. Болт закручивайте только тогда, когда автомобиль стоит под собственным весом на земле — это крайне важно!
Замена сайлентблоков с полным снятием балки
Ниже на видео вы можете увидеть процесс замены сайлентблоков с полным снятием задней балки. Неудобство такого метода в том, что нужно отсоединять тормозной шланг, так как его длины не хватит для полного опускания балки. Разумеется, после замены необходимо будет заново залить тормозную жидкость и прокачать тормоза, что в одиночку сделать довольно сложно.

Проверка и тестирование после замены
После завершения процесса замены сайлентблоков балки крайне важно провести тщательную проверку и тестирование, чтобы убедиться в правильности выполненной работы и отсутствии возможных дефектов. Этот этап включает в себя несколько ключевых моментов, которые помогут избежать проблем в будущем.
1. Визуальный осмотр
Первым шагом после замены сайлентблоков является визуальный осмотр. Проверьте, правильно ли установлены новые сайлентблоки, нет ли видимых повреждений или деформаций. Убедитесь, что все крепежные элементы затянуты до необходимого момента, и нет никаких зазоров между сайлентблоками и балкой.
2. Проверка на наличие люфта
Следующим этапом является проверка на наличие люфта. Для этого необходимо поднять автомобиль и покачать колесо в вертикальной плоскости. Если вы заметите излишний люфт, это может указывать на неправильную установку сайлентблоков или их несовместимость с конструкцией автомобиля.
3. Тест-драйв
После визуального осмотра и проверки на люфт рекомендуется провести тест-драйв. Во время движения обратите внимание на поведение автомобиля: проверьте, нет ли посторонних звуков, стуков или вибраций, которые могут свидетельствовать о проблемах с сайлентблоками. Также важно оценить управляемость и устойчивость автомобиля на дороге.
4. Проверка геометрии подвески
После замены сайлентблоков стоит проверить геометрию подвески. Неправильная установка может привести к изменению углов установки колес, что в свою очередь может вызвать неравномерный износ шин и ухудшение управляемости. Рекомендуется провести развал-схождение на специализированном оборудовании.
5. Регулярный мониторинг
После завершения всех проверок и тестирования важно продолжать мониторинг состояния сайлентблоков. Регулярно проверяйте их на наличие трещин, износа и других повреждений, особенно если вы заметили изменения в поведении автомобиля. Это поможет своевременно выявить проблемы и избежать более серьезных последствий.
Таким образом, проверка и тестирование после замены сайлентблоков балки являются неотъемлемой частью процесса, которая обеспечивает безопасность и надежность автомобиля. Не пренебрегайте этими этапами, чтобы гарантировать долгий срок службы новых компонентов и комфортное вождение.
Вопрос-ответ
Можно ли ездить с неисправными сайлентблоками задней балки?
Можно ли ездить с неисправными сайлентблоками? Можно, но откладывать ремонт не стоит, поскольку могут быстрее изнашиваться шины и другие детали подвески.
Можно ли самому заменить сайлентблоки?
Теоретически замену сайлентблоков вполне можно провести самостоятельно. Эти детали встречаются в передней подвеске автомобиля, в креплении задней штанги и т. д. Их можно менять самому, просто почитав инструкцию или посмотрев видео.
Нужно ли делать развал после замены сайлентблоков балки?
Конечно, при замене опор двигателя и КПП регулировка развал-схождения не понадобится. Также без неё можно обойтись при ремонте нерегулируемой задней оси (например, торсионная балка) и при замене стоек стабилизатора.
Советы
СОВЕТ №1
Перед началом замены сайлентблоков обязательно ознакомьтесь с руководством по эксплуатации вашего автомобиля. Это поможет вам понять, какие инструменты и материалы понадобятся, а также даст представление о процессе замены.
СОВЕТ №2
Используйте качественные запчасти. При замене сайлентблоков выбирайте детали от проверенных производителей, чтобы избежать быстрого износа и обеспечить надежность работы подвески.
СОВЕТ №3
Не забывайте о безопасности. Перед началом работы убедитесь, что автомобиль надежно зафиксирован на подъемнике или домкрате, а также используйте защитные очки и перчатки для предотвращения травм.
СОВЕТ №4
После замены сайлентблоков рекомендуется провести развал-схождение колес. Это поможет избежать неравномерного износа шин и улучшит управляемость автомобиля.


 



 
 
 
							
							
						 
							 
 
 
