Топливный обратный клапан — где расположен и как ремонтировать
Одно из самых обделенных вниманием устройств двигателя автомобиля — это так называемый «обратный клапан». Еще его называют перепускным клапаном или регулятором давления топлива.
Насколько оно критично, нужно ли его проверять и как часто это нужно делать? Надо сказать, довольно сложно найти автосервис, в котором было бы оборудование для проведения «топливных тестов». Как правило, поступают дедовским методом: пережимают «обратку» или отсоединяют ее и смотрят на толщину струи топлива из шланга.
Единственное, что можно определить подобным «тестом» — то, что топливный насос как-то работает. Измерить создаваемое насосом давление, как вы понимаете, с помощью дедовских тестов невозможно. Ну, разве что, только в том случае, когда из «обратки» топливо вообще не поступает или еле-еле капает.
Где находится обратный клапан топлива
Давайте выясним, где находится клапан топливной системы различных автомобилей.
- В силовых установках с инжектором может стоять в корпусе бензинового насоса.
- Монтируется на топливной раме или устанавливается непосредственно в топливном проводе. Это место между баком для бензина и топливными форсунками.
На дизельных силовых установках механическая конструкция прячется между ТНВД и насосом низкого давления. Такое расположение продукта позволяет создавать стабильное давление на выходе в НВД (насос высокого давления).
Система хорошо себя зарекомендовала:
- на отечественном грузовике: КАМАЗ 740;
- чешской косолапой Татре;
- на Мане;
- и Рено Магнум.
В дизельных установках, где предусмотрена система подогрева перед запуском, топливный обратный клапан стоит перед системой подогрева. Характерным примером могут служить те же КамАЗы или Магирусы, работающие в районах Крайнего Севера.
На отечественных легковых автомобилях, таких как ВАЗ 2110 и 2114 с шестнадцатью клапанами, механическая конструкция стоит в бензиновом насосе и на топливной раме. Это аналог монтажа дизеля.
Сегодня на наших дорогах ещё бегают старенькие карбюраторные авто с задним приводом: восьмёрки и девятки (ВАЗ 2108 и ВАЗ 2109). На них, роль обратного устройства, отведена непосредственно бензиновому насосу.
Он стоит на блоке цилиндров и препятствует прохождению горючего в обратном направлении: в топливный бак.
Система подачи топлива автомобильных бензиновых и дизельных силовых агрегатов – это сложное в техническом плане устройство, которое без знания не стоит приближаться. А тем более, пытаться самостоятельно провести техническое лечение.
Важную роль в регулярной подаче топлива играет обратный клапан. Давайте сфокусируем своё внимание на его устройстве, установке в автомобиле. Рассмотрим неполадки и характерные признаки неисправности. А также определимся со способами его проверки.
Выводы
Обратный клапан топливной системы является важным агрегатом этой системы, поломка которого может доставить водителю массу проблем. Особенно болезненным это будет во время движения. Поэтому стоит использовать только качественное топливо, а также при малейших признаках неисправности, которые были перечислены выше, проводить диагностику топливной системы.
Ведь проблема может крыться не только в клапане, но и в других мелких деталях. Диагностика на СТО практически всегда выявляет такие неисправности, поэтому не стоит забывать о своевременном техническом обслуживании автомобиля, даже если все кажется исправным.
Справка
Многим известно, что клапан топливной системы агрегирует:
- С карбюраторными силовыми агрегатами, работающими на бензине.
- С моторами, обеспеченными инжектором.
- С системами питания силовых установок, где применяется в качестве горючего, дизельное топливо.
В устройстве механической конструкции нет ничего сложного. Это устройство шарикового типа с седлом, которое изготавливают из мягкого металла, с максимально точной балансировкой. Горючее беспрепятственно проходит через топливный клапан в одном направлении. Давление, которое создается, препятствует поступлению бензина или солярки обратно в топливный бак, так как неразборная конструкция запирается.
При всей свей простоте, устройство может причинить немало хлопот новичку и опытному водителю. Поэтому, необходимо знать его возможные капризы и способы ликвидации поломок. Но прежде всего, понимать, где устанавливается механическая конструкция.
«Не следует путать понятие обратного клапана топливной системы с редукционным устройством».
Лада Приора Хэтчбек ✤ℨℰȴёℋÅЯ МОȴℵИЯލ › Бортжурнал › Главное о давлении в топливной системе.
Давление топлива в системе автомобиля является одним из важных параметров, который применяется при диагностики двигателя. От давления зависит поведение автомобиля в различных режимах работы. Как измерить давление в топливной системе своими руками
Например, купить прибор для проверки давления топлива. Комплект с топливным манометром, адаптером и сливом обойдется вам в 1400-1500р. Заплатить на СТО 300-400р и сделать замеры там. А можно замерить давление в топливной системе воздушным манометром, который используется для измерения давления в шинах. Вот на этом то моменте подробнее. Берём на примере десятого семейства ВАЗ 2110. В остальном процедура аналогичная любому другому автомобилю. Особенность манометров такова, что его начальные значения шкалы имеют относительную неточность. Что это значит. Если воздушный манометр будет иметь шкалу до 16-20атм (когда для топлива предел измерения — 5-7атм), то замеры давления будут не точными из-за этой погрешности, которая как раз будет выпадать в начальные значения шкалы прибора. Поэтому правильно проверять давления топлива именно топливным манометром с пределом 6-7атм.
Берем манометр и наматываем фумку (сантехнический лён) под патрубок и одеваем кислородный шланг с внутренним диаметром 9мм. Закрепляем хомутами. На генератор укладываем тряпку (чтобы не устроить пожар под капотом). Выкручиваем пластиковый колпачок на топливной рампе.
одели шланг на манометр
Под колпачком отверстие с ниппелем. Откручиваем его колпачком от колеса. Из-за остаточного давления в рампе после снятия ниппеля брызнет бензин.
По желанию можно сбросить давление в топливной системе автомобиля. Для этого нужно снять предохранитель бензонасоса и подождать, когда заведенный автомобиль не заглохнет.
Одеваем второй конец шланга на отверстие рампы и закрепляем хомутом. Убираем тряпку с генератора и заводим двигатель. Не забываем, перед тем, как снять шланг с рампы, снова накрыть генератор тряпкой. Все, теперь Вы знаете, как проверить давление в топливной системе в полевых условиях.
закрепляем шланг с манометром на штуцере
проверяем давление топлива в системе
Кстати, вместо хомутов можно использовать втулку регулировочного болта классики. Она прекрасно накручивается на штуцер рампы. Для уплотнения надеваем на штуцер подходящее по размеру резиновое кольцо. С другой стороны втулки припаиваем штуцер, на который и одеваем шланг с манометром.
Какое давление в топливной системе ВАЗ 2110 должно быть ? 2,8–3,2 бар (2,8–3,2 атм)
Как измерить давление топлива в системе, где нет обратки ? На ВАЗ 2110 с двигателями 1.6 л давление в рампе постоянное и составляет 3.6-4.0атм. В остальном же методика замеров аналогичная. Альтернативные способы:
Замеряется на выходном штуцере модуля бензонасоса — это тот, который с одной трубкой. Понадобится гибкий бензостойкий шланг с внутренним диаметром около 8мм и манометр (нужно снять трубку, и вместо нее надеть шланг с манометром). Давление должно быть 5-7атм. Закрыть обратку, как это делают на ДВС со сливной рампой, только глушить надо опять таки на самом бензонасосе. Второй шланг сдёргиваем (двойной) и вставляем в снятый шланг затычку, сделанную например из старого топливного фильтра (отпиливаешь от него сосок и глушишь). Одиночный шланг должен быть одет на штуцер насоса, а измерять теперь надо на топливной рампе. По схеме системы питания всё будет понятно.
Обращаем ваше внимание.
Если топливный обратный клапан теряет свою герметичность, происходит несанкционированное поступление бензина обратно в бак. В этом случае запуск силового агрегата возможен при ручной подкачке.
Если запуск мотора был затруднён, умельцы ставили (врезали) механическую конструкцию в систему питания, ближе к карбюратору.
Это давало возможность без труда завести мотор даже при отрицательных t0. Примером могут служить: повидавшие на своём веку старенькие Опеля (Кадеты) и 323 Мазды.
РДТ Газель
Добро пожаловать на ChipTuner Forum.
Опции темы
Всем привет) расскажите как должен правильно работать РДТ машина ( газель змз 405 22 евро 2 ) наконец то починил ужасна работала из за давление насоса, поменял, заработала как часики. но при работе весь день к вечеру выдала ошибки(
давление проверял : при холостых давление топлива 2.5 -2.6 при открывании дросселя ( увеличение оборотов ) до 3 поднимается давление.
На холостых постоянно течет бензин из обратки, при удержании педали газа на 3 тысячах оборотах бензин чуть меньше течет, а при перегазовке на разных оборотах от 3 и выше ( без удержания педали ) бензин перестает течь через обратку
Это значит РДТ исправен или нет?
появились просто ошибки : нет сигнала датчика коленвала ( хотя машина заводиться без проблем) Пропуски зажигания в 1 цилиндре Случайные множественные пропуски зажигания Слишком богатая смесь Слишком бедная смесь Датчик кислорода до нейтрализатора обрыв цепи сигнала ( хотя фишка надета все норм )
Неполадки обратного клапана
По какой причине клапан топливной системы выходит из строя. Давайте разбираться вместе. Сегодня известны три явные причины отказа в работе.
- Установка некачественного китайского товара, который быстро выходит из строя. В основном, это подделки под определённый бренд.
- Вторая причина – это естественный износ продукта. В этом случае из строя выходит или пружина, или мембрана. Заметим, что сам клапан крайне редко выходит из строя.
- Ещё одна беда для неразборной механической конструкции – это некачественное топливо.
Определившись с возможными неполадками, давайте перейдём к признакам, указывающим на проблему.
Проверка бензонасоса карбюраторного авто (механический)
Механический топливный насос — схема
Чтобы проверить работоспособность топливного насоса, вам необходимо:
- Снимите топливопровод с впускного отверстия карбюратора.
- Погрузите трубку в специально подготовленную прозрачную бутылку, вручную управляя рычагом подкачки, вы заметите, насколько сильно и плотно струя подается с топливом. Загрязнения воздуха не должны быть видны визуально.
Опоздание реактивного самолета не является признаком поломки, особенно если машина стояла на стоянке долгое время. Обычно основной причиной неисправности являются диафрагмы восемь и девять.
Однако необходимо проверить как фильтр, так и впускной / выпускной клапан.
Даже при замене сальников может произойти утечка топлива. В этом случае проблема заключается в герметичности корпуса топливного насоса из-за деформации при ремонте.
Подытожим:
Причин как электрических, так и механических неисправностей топливного насоса много, и необходимость найти / отремонтировать неисправность может застать вас врасплох. Следуя вышеперечисленным рекомендациям, вы сможете самостоятельно провести все необходимые мероприятия по диагностике данного устройства. И начинать стоит с источника питания (если это ТНВД) и работы мембраны при проверке ТНВД механического типа. Чаще всего нестабильная работа топливного насоса связана не с его выходом из строя, а с сопутствующими деталями — фильтром, обратным клапаном или форсунками.
Характерные признаки неисправности обратного клапана
- неожиданная смена оборотов силового агрегата при запуске или во время движения;
- пуск двигателя возможен при нажатии на педаль акселерата. Хотя до этого силовой агрегат приводился в действии с помощью стартера;
- нестабильная работа мотора на низких или холостых оборотах;
- потеря топлива, которая уходит через подающие или обратные трубки. При этом герметизация топливных шлангов не нарушена.
В нашем случае неразборная механическая конструкция поддаётся лёгкой починке. Это с одной стороны. С другой стороны, проблему невозможно определить с помощью сканирования. Далее рассмотрим варианты проверки устройства.
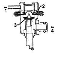
Устройство и принцип работы
Состоит топливный регулятор из следующих элементов:
- Корпус. Изготавливается из металла и отличается высокой герметичностью, необходимой для предотвращения утечки топлива и потери давления.
- Мембрана (диафрагма). Реагирует на избыточное давление и открывает сливную магистраль.
- Обратный клапан. Расположен на входе.
- Пружина. Оказывает дополнительное давление на диафрагму клапана.
- Штуцеры для крепления магистралей впуска и слива топлива.
- Уплотнители. Обеспечивают герметичность системы на входе и выходе.
Принцип работы механического регулятора объема топлива прост. Мембрана разделяет внутреннее пространство корпуса на две камеры (топливную и воздушную). В первую при помощи насоса подается топливо, которое оказывает некоторое давление на мембрану. Обратный клапан при этом препятствует возврату топлива во впускную магистраль, что позволяет создавать давление, необходимое для работы мотора.
Классическая конструкция клапана представляет собой механический узел, работа которого основана на разнице давлений. В системах типа Common Rail вместо топливного регулятора может быть использован электромагнитный клапан, управляемый ЭБУ двигателя.
С обратной стороны мембраны (во второй камере) расположена пружина, запирающая регулятор. Эта камера при помощи шланга соединена с впускным коллектором, в котором при различных режимах формируется некоторый уровень разрежения воздуха, что также воздействует на диафрагму. В момент, когда давление топлива превышает суммарное воздействие пружины и разрежения во впускном коллекторе, клапан открывается, сбрасывая часть горючего.
Каким способом можно проверить обратный клапан
Выяснить в каком состоянии находится топливный клапан, можно следующим образом.
Используя манометр, проверить давление. Оно должно быть в пределах 3 кг на см2. Это показатели для легковых автомобилей.
Выяснить, как работает устройство, можно пережав «обратные» шланги для топлива. Если неразборная механическая конструкция в порядке давление должно вырасти.
К сведению.
Этот способ только для автомобилей, в которых установлены резиновые шланги.
Самостоятельную диагностику можно провести без использования манометра. Это касается проблемы нестабильной работы ДВС (двигателя внутреннего сгорания) и плохо набирающего обороты. Пережав резиновый шланг перемещающий топливо в обратном направлении необходимо обратить внимание на работу двигателя. Если обороты повышаются, а цилиндры мотора работают в плановом режиме, значит обратный клапан неисправный.
FakeHeader
Comments 66
Замена насоса. Насос имеет собственный клапан.
клапан должен развалиться изнутри о качестве деталей. в бензонасосе есть клапаны, которые должны удерживать вас на пути. ваша помпа наверняка уже плохо качает или меняет ТНВД или клапан внутри (ремкомплект и, опять же, не факт, что будет качество). я заменил диафрагму в своей, но не стал менять клапан, хотя в интернете они плохо держатся, многие люди жалуются на ремонт.
в общем, у вас есть следующие возможности: 1 сделать приставку для ручной откачки и ручной откачки (та же веревка) из отходов 2 замены клапана (качественные) до 500 руб 3. Замена ТНВД (опять же качественная) 1000-2000 руб 4 переключить на электро. 5 не стандартная версия в виде обратного клапана (качественная).
в варианте 5 необходимо найти конкретный обратный клапан для бензопровода, также следует учитывать, что давление в бензопроводе низкое.
В дополнение к электронасосу. Уловка в том, что для этого не нужны клапаны. Несмотря на то, что все топливо в карбюраторе испарилось, я включил зажигание, подождал пару трех секунд, пока EBN накачал карбюратор и запустился.
1200 руб за фотоотчёт
Оплачиваем фотоотчеты по ремонту автомобилей. Заработок от 10 000 руб. / Мес. Пишите:
Причины выхода из строя бензонасосов не всегда одинаковы, а сами устройства могут быть электрическими и механическими. Диагностика работоспособности у этих типов разная, поэтому рассмотрим способы отдельно проверить работу бензонасосов. Однако работу топливного насоса можно проверить за 7 шагов.
Необходимость проверки ТНВД появляется при следующих признаках неисправности:
Регулятор давления топлива
Сегодня поговорим про регулятор давления топлива, механическое устройство которое незаслуженно обделено вниманием.
В народе его называют обратный клапан или перепускной клапан. Обычно при проблемах с двигателем как то: недостаточная мощность нестабильные холостые, плохой завод, дёрганье двигателя на него или обращают внимание в последнюю очередь либо просто игнорируют. И зря, потому что в работе двигателя это один из самых важных элементов.

Вот мы и поговорим об «обратном клапане». Регулятор давления топлива (в обыденной жизни мы все, наверное, называем его «обратный клапан» или «перепускной клапан», потому что он перепускает топливо обратно в бак, в количестве зависящем от режима работы двигателя), установлен на топливной «рейке» и предназначен для поддержания постоянного давления топлива на входе в форсунки при различных режимах работы двигателя и при разном разрежении во впускном коллекторе. Регулятор представляет собой мембранный клапан. С одной стороны на мембрану действует давление топлива, а с другой — усилие пружины и давление воздуха из впускного коллектора, с которым регулятор соединен шлангом. Чем больше абсолютное давление (т.е. чем меньше разрежение) воздуха во впускном коллекторе (т.е. чем больше нагрузка на двигатель), тем больше давление топлива. При уменьшении нагрузки на двигатель, когда давление топлива превышает суммарное усилие от пружины и от давления воздуха, клапан регулятора открывается на большую величину и избыток топлива по сливной магистрали возвращается в топливный бак. Говоря образно, «обратный клапан» служит только для того, что бы поддерживать одну и туже разницу давлений, прикладываемых к форсунке со стороны впускного коллектора и со стороны топливной магистрали. ECU. «Не держит», что означает его полную «открытость», то есть топливо, закачиваемое топливным насосом, проходит через клапан и топливную рейку свободно, почти нигде и ничем не задерживаясь, и спокойно по магистрали «обратки» сливается в топливный бак. Это состояние вызывает пониженное давление в топливной системе. «Клинит», «подклинивает» — в этом случае клапан работает «пьяным швейцаром в ресторане»: «хочу пущу, а захочу – и не пущу!». В этом случае топливо, попавшее в топливную рейку, «утыкается» в клапан, и так как ему деваться некуда (а насос сзади продолжает создавать давление), то оно начинает искать выход, … А иногда, когда клапану «захочется»- оно резво струится в бак по совершенно открытой магистрали и никто не может предугадать, когда все это случится. « Мертвый» — понятно, означает: клапан в этом состоянии подобен бронированным дверям в банке – стоит на пути топлива и совсем не пропускает его в бак, ни при каких условиях. Как следствие, при описанной неисправности давление в топливной системе значительно возрастает. Когда клапан «не держит», топливо, закачанное топливным насосом почти свободно циркулирует по машине. Топливный насос — топливный фильтр — топливная рейка — и обратно в бак. Представим происходящее: в топливной рейке пониженное давление топлива, не смотря на то, что топливный насос работает исправно.
Во время ускорения машины, когда, обратный клапан должен чуть-чуть «подзакрыться» из-за того, что произошло увеличение объема воздушного потока и, следовательно, произошло уменьшение разряжения во впускном коллекторе, — клапан не повышает давление топлива. А при ускорении двигателю «хочется» топлива больше, но он его не получает. Что в итоге? Только то, что при этом состоянии клапана и во время ускорения машина «начинает тянуть хуже». Но и это не все. Когда «клапан не держит», то он еще «делает нам подлянку» после того, как мы заглушили машину и пытаемся ее завести через, например два часа. Что происходит в этом случае? При нормально работающей топливной системе и всех ее элементах давление топлива в топливной системе после остановки двигателя должно оставаться неизменным в течение довольно длительного времени, скажем, всю ночь. Но это при нормально работающей системе! А у нас клапан «не держит». Что произойдет? А то, что после остановки двигателя и прекращения работы топливного насоса у нас просто-напросто давление в топливной системе не сохранится. То есть в топливной рейке, через некоторое время после остановки топливного насоса, давления не будет. И когда мы через час-два начнем снова заводить двигатель, то будем долго-долго его «гонять», пока он начнет «схватывать» и только потом заведется. Кроме этого, «пониженное давление в системе выражается в неустойчивой работе двигателя при ХХ. А теперь суммируем, на что может влиять клапан, который «не держит»: — плохая «приемистость», «дергание» автомобиля при разгоне; — неустойчивый ХХ; — после остановки двигателя и заведении через некоторое время – двигатель заводится с трудом, его приходится долго «гонять», что бы завести. Разберем состояние «мертвого» клапана, который не пропускает топливо. Что получается в этом случае? Топливный насос «гонит» топливо, а оно «утыкается» в этот клапан и далее не идет. В «топливной рейке» возникает избыточное давление топлива, не 2.5 кг/см2, а 3…5 и более. Электромагнитные форсунки получают импульсы и открываются на определенное время. Топливо, находящееся под давлением в топливной «рейке» «впрыскивается» в цилиндры. Но объем «впрыснутого» топлива при давлении 4 кг/см2 будет больше, чем объем топлива «впрыснутого» при давлении 2.5 кг/см2. Что получается? В мануалах пишется, что для нормальной работы двигателя требуется смесь, состоящая из одной части топлива и 14.7 частей воздуха. А здесь получается, что при неизменном количество поступающего воздуха, в цилиндрах двигателя топлива оказывается значительно больше, чем положено для нормальной работы. И оно не может воспламениться и сгореть все полностью. Из выхлопной трубы мы увидим черный дым – то топливо, которое не сгорело. Безусловно, ECU, анализируя выходное напряжение датчика кислорода пытается уменьшить время открывания форсунок, но его возможности не бесконечны!

Ну и на последок скажу что у меня были аналогичные симптомы на Н22а7, посто поменял регулятор, поставил с F20b и машина полетела в буквальном смысле. Он по конструкции и давлению аналогичен. продаются также тюненые варианты данного девайса с манометром и регулятором можно настраивать давление в рампе по своему усмотрению. соответственно выше давление сброса, больше топлива в цилиндры при том же открытии форсунок.
Обратный клапан топливной системы: 4 основных неисправности и способы их устранения
Топливные системы двигателей современных автомобилей представляют собой сложные системы механизмов и агрегатов. Среди них встречаются такие системы, работу с которыми можно доверить только специалисту. Однако и более простые системы, вроде тех, что присутствуют, например, в старых моделях автомобилей ВАЗ, могут быть более сложными в ремонте, чем системы современных автомобилей. Выход из строя даже самых незначительных частей топливной системы может серьезно ухудшить работу транспортного средства. Обратный клапан топливной системы не является исключением. Но, прежде чем приступать к каким-либо ремонтным работам, необходимо разузнать об устройстве и функциях этого агрегата.
Функции обратного клапана
Топливные насосы современных автомобилей обладают высокой производительностью и при должном уходе обеспечивают непрерывную подачу топлива, невзирая на производящуюся нагрузку. Функционирование двигателя на холостых оборотах невозможно без наличия обратного клапана топливной системы.
Причем этот агрегат присутствует не только в бензиновых моторах с карбюратором и в инжекторных двигателях. Обратный клапан на топливную систему дизельного двигателя также является незаменимой частью топливной системы таких двигателей.
Основной задачей этого клапана является предотвращение образования слишком высокого давления в топливной системе, в результате которого может произойти обрыв топливных шлангов. В принципе предназначением любого клапана является обеспечение движения разных жидкостей в одном главном направлении. Находясь в топливной системе, этот клапан предотвращает целый ряд проблем, которые могут возникнуть в системе в результате обрыва шлангов.
Например, если вы передвигаетесь на автомобиле с дизельным двигателем, то поломка обратного клапана в пути может привести к тому, что топливная система начнет наполняться воздухом. Наличие воздуха неприемлемо и в инжекторных системах питания.
Если водитель останавливает двигатель, а топливо при этом стекает в бак по рабочей магистрали, то освободившееся пространство быстро занимается воздухом. В таких ситуациях придется крутить мотор стартером не менее пятидесяти секунд.
Устройство и принцип действия
Устройство обратного клапана несложное. Весь механизм состоит из пружины, мембраны и непосредственно клапана. Клапан шарикового типа оборудован специальным седлом, которое выполняется из мягкого металла и максимально точно калибруется.
Корпус клапана снабжен тремя выходами: первый предназначен для впускного коллектора, а остальные — для выведения топлива. Топливо беспрепятственно передвигается по клапану только в одном из направлений.
Оно не имеет возможности поступать обратно в клапан благодаря создаваемому на него давлению, из-за чего он запирается. Клапан открывается благодаря перемещению пружины, возникающего в результате разряжения при увеличении оборотов двигателя. Лишнее топливо возвращается обратно в топливный бак.
Клапан топливной системы часто путают с редукционным. Чтобы избежать этого, подробно изучите инструкцию по эксплуатации автомобиля. Редукционный клапан используется в инжекторном и дизельном двигателях и осуществляет свою работу параллельно с обратным клапаном топливной системы.
Обратный клапан для дизельного топлива по принципу работы ничем не отличается от своего «собрата», используемого в бензиновых двигателях, различия могут возникнуть лишь в местах расположения этого агрегата.
Место расположения
Где находится обратный клапан топливной системы? Этот параметр вы можете найти в инструкции, однако чаще всего этот клапан прикрепляется на топливную рампу в корпусе. Топливная рампа — это металлическая конструкция, на которую кроме нашего клапана прикрепляются и форсунки, отвечающие за впрыскивание топлива в двигатель.
В некоторые рампы обратный клапан вкручивается резьбой с торца. В некоторых автомобилях он также может находиться между топливным баком и форсунками в топливопроводе.
В автомобилях с дизельным двигателем благодаря тому, что давление на входе в ТНВД (топливный насос высокого давления) должно сохранять стабильные показатели, обратный клапан прикрепляется между ручным насосом низкого давления и ТНВД. Если в автомобиле присутствует специальная система предпускового подогрева топлива, то обратный клапан устанавливается перед данной системой.
Неисправность обратного клапана топливной системы
Признаки неисправности
Существует несколько характерных признаков, которые могут свидетельствовать о неисправности обратного клапана:
- Мотор работает неустойчиво и прерывисто при минимальных оборотах.
- Мотор запускается только после длительного вращения стартера с одновременным нажатием педали газа.
- Бензин протекает из топливных шлангов и продолжает протекать после их замены и подтягивания хомутов.
- Обороты резко меняются на холостом ходу.
Из-за того, что конструкция обратного клапана полностью механическая, его диагностика с помощью специальных приборов невозможна. Разобрать обратный клапан и отремонтировать его не получится, так как вся его конструкция довольно дешевая, и отсутствуют отдельные запчасти в продаже.
Вы можете узнать о работоспособности клапана, измерив давление в топливной системе манометром. Манометр для этого подсоединяете к отделу, обеспечивающему питание двигателя. Быстрое снижение давления при остановке двигателя будет свидетельствовать о неисправности клапана.
Другой способ проверки клапана на работоспособность заключается в отслеживании уровня давления при пережатии обратного шланга. Давление должно повышаться, но такой способ подойдет не для всех автомобилей, поскольку в некоторых из них эти шланги сделаны из металла.
Если двигатель работает сбивчиво, то пережмите обратный шланг и вновь понаблюдайте за работой двигателя. Если необходимая мощность в этот момент набирается, а цилиндры функционируют — смело можете менять клапан.
Основные неисправности
Основной неисправностью обратного клапана является выход из строя вследствие долгого использования. Любая деталь автомобиля имеет свой срок годности, после истечения которого даже при должном обращении уже не будет функционировать как прежде.
Другими частыми неисправностями клапана являются механические повреждения или закупорка, которая происходит, например, из-за использования некачественного топлива. Чаще всего изнашивается пружина и мембрана.
Причины неисправностей
Почему клапан выходит из строя? Последнее время рынок автозапчастей наводнили китайские дешевые запчасти. Довольно часто такие запчасти выходят из строя из-за заводского брака. Обратный клапан не является исключением.
Как упоминалось выше, причиной износа часто становится время и некачественное топливо. Если бензин или дизельное топливо смешать с водой, то такая смесь будет губительной для многих агрегатов топливной системы.
Засорение клапана в результате использования некачественного топлива тоже может быть существенной причиной. Засорение вообще приводит к снижению или прекращению работоспособности многих агрегатов автомобиля (например, воздушных фильтров).
После смешивания топлива с водой и попадания такого топлива в систему, влага может попасть в регулятор. Нередко и вместе с грязью, если неисправен фильтр.
Диагностика и устранение неисправностей в работе обратного клапана
Итак, вы имеете подозрение, что работоспособность автомобиля снизилась вследствие неисправности обратного клапана топливной системы, и присутствуют некоторые признаки его неисправности. Для того чтобы выяснить, так ли это, используется несколько методов.
Чаще всего проверяют уровень давления. Адекватный уровень давления должен составлять около 3 кг/см 2 (для легковых автомобилей). Вместе с этим уровень давления не должен резко снижаться при остановке двигателя. В противном случае это тоже будет признаком неисправности обратного клапана.
Как упоминалось выше, иногда используют сжатие шлангов. Но этот метод не всегда подходит, поскольку сжать можно только резиновый эластичный шланг.
Обязательно устанавливайте причину, по которой топливная система наполняется воздухом. При правильном ее функционировании жидкость в небольшом количестве должна оставаться в камере в ожидании следующего запуска двигателя. Если клапан отсутствует или изношен, то вместо этой жидкости появляется воздух. Запустить двигатель в таких условиях будет несоизмеримо трудно.
Итак, в результате измерений давления вставленным в рампу манометром, вы сделали вывод, что после остановки двигателя оно начинало сильно падать. В этом случае либо присутствует дефект топливной магистрали, либо неисправен сам клапан. Если на выходе из топливного насоса результат отличается, значит, неисправен клапан.
Чтобы устранить неисправность, выберите в магазине запчастей качественный обратный клапан, который подходит по размерам сечения. Если подобрать клапан с неправильными размерами сечения, то он может начать «проскакивать». Перед покупкой проверьте работоспособность клапана на месте, если есть возможность. Обратный клапан необходимо врезать в линию в любом подходящем месте.
Например, это можно сделать между топливным насосом и фильтром. После этого проверьте работоспособность на своем автомобиле, заехав под углом в горку. Если автомобиль не подает признаки снижения мощности, то клапан подошел.
Иногда в замене клапана нет нужды, а нужно менять сам топливный насос. Однако эта процедура стоит гораздо дороже. Альтернативным вариантом является установка дополнительного клапана. При выборе клапана учитывайте, что модели для российских автомобилей часто отличаются по сечению от иномарок.
Есть также народный способ устранения неисправности, но он подходит только, если клапан был засорен. Необходимо пару раз ударить по клапану молотком. Силу удара нужно рассчитать так, чтобы избежать механических повреждений. При таком воздействии инородные тела, попавшие в клапан, могут быть измельчены или вообще вылететь из клапана. Но чаще всего гораздо проще заменить клапан на новый.
Выводы
Обратный клапан топливной системы является важным агрегатом этой системы, поломка которого может доставить водителю массу проблем. Особенно болезненным это будет во время движения. Поэтому стоит использовать только качественное топливо, а также при малейших признаках неисправности, которые были перечислены выше, проводить диагностику топливной системы.
Ведь проблема может крыться не только в клапане, но и в других мелких деталях. Диагностика на СТО практически всегда выявляет такие неисправности, поэтому не стоит забывать о своевременном техническом обслуживании автомобиля, даже если все кажется исправным. Удачи и легких дорог!
Тема: Диагностика по давлению топлива собственными силами
Диагностика по давлению топлива собственными силами
Проверка давления топлива , РДТ,бензонасоса, обратного клапана насоса Отличная статья нашего соотечественника © Алексей Пахомов, aka Is_18, г.Ижевск Очень доступно и детально .
Оригинал статьи опубликован на сайте http://www.chiptuner.ru/pressure.php (здесь она приведена ниже полностью):
Для двигателей с продольным расположением в моторном отсеке (Passat B5 B5+ A4 A6 A8) величину номинала РДТ надо принимпть исходя :
Двигатели объемом от 1.6 до 1.8(включая версии с турбокомпрессором), а также 2.8 оснащаются регулятором давления топлива 078 133 534C(0280160575), он откалиброван на давление топлива 4Bar (без вакуума, те со снятой вакуумной трубкой)
Двигатели объемом 2.3 оснащаются регулятором давления топлива 037 133 035C(0280160557), он откалиброван на давление топлива 3Bar (без вакуума, те со снятой вакуумной трубкой)
В скобках после номера детали указан номер по каталогу Bosch
Подача вакуума к регулятору давления, уменьшает давление в топливной рампе при работе работе двигателя в режиме XX на 0.5bar
Для двигателей с поперечным расположением в моторном отсеке (Вora, Octavia, ТТ, A3 ) давление РДТ составляет 3 Бара , те значения приведенные в статье считать справедливыми .
Топливный насос имеет ,как правило, двойной запас : те соответствующий номинал РДТ надо умножить на 2 ( либо 6 либо 8 атмосфер соответственно) *(Примечание , rummi, Mex@n!k )
Диагностика по давлению топлива
1. Первым делом оцениваем работу регулятора давления. Для этого на неработающем двигателе включаем насос. Манометр должен показать 3.0+/-0.2 кгс/см2. Если давление ниже 2.8 кгс/см2, лучше поменять РДТ, потому что на мощностных режимах машина будет туповата. Окончательный приговор РДТ выносим только после следующего пункта.
4. Заводим двигатель. Внимательно следим за стрелкой манометра. Вот здесь-то и пригодится крупная шкала. Стрелка может слегка дрожать, это следствие больших пульсаций абсолютного давления (давления во впускном ресивере). Эти пульсации — тема отдельного разговора, пока что забудем о них. Но если стрелка не дрожит, а “гуляет”, причем в достаточно широких пределах (до 0.3 кгс/см2), то наверняка забита сеточка бензоприемника. Например, так на фото. (прим. от Sим — это еще не самый экстремальный вариант — более “крутые” случаи смотрите ЗДЕСЬ)
5. На заведенном двигателе давление будет около 2.3 кгс/см2. Если снять с РДТ вакуумный шланг, резко поднимется до 3 кгс/см2 (либо до того значения, которое получили в п.1). Надеваем шланг обратно. Плавно поднимаем обороты примерно до 3000. Если при этом давление будет постепенно падать, то это еще один признак “мертвого” насоса.
6. Можно еще проверить производительность, открутив подающий топливопровод и подав питание на бензонасос. За минуту должно набежать около 1.5 литра. Честно говоря, за всю свою практику никогда этого не делал, как-то обходился показаниями манометра.
7. Самый экстремальный вариант — давление около 1 “очка” и неровный звук работы насоса. Причина — нет бензина в баке. Не смешно. Раз в месяц регулярно отправляю машины на заправку.
Вот и вся нехитрая наука. Если бензобак пришлось-таки разбирать, есть смысл заглянуть в него с фонариком. На дне обнаружится вода, лохмотья грязи, песок и прочие лишние субстанции. Их нужно удалить грушей. А лучше, если есть, вакуумной установкой для замены масла.
* Дополнение. Для двигателя AAN (2.2Т) там регулятор давления точно такой же как и у нас, на 4.0 Bar Bosch. Но статья про измерение давления писалась, как положено. Так вот перевожу некоторые моменты: Указания — Замените РДТ в случае прорыва топлива через вакуумный штуцер — При выполнении измерения не следует без надобности долгое время оставлять РДТ без вакуума, в противном случае повышенное давление в топливной рампе ведет к обогащению топливной смеси и возможном достижении пределом лямбда-регулирования. Следствием этого ЭБУД может быть записана ошибка о переобогащении смеси. Измерение -Снимите вакуумный шланг с РДТ -Отключите все потребители электроэнергии -Измерьте давление топлива: Допуск 4.0. 4.2 Bar -Если допуск не достигнут, попробуйте заменить РДТ и попробовать снова. -Если допуск снова не достигнут, проверьте топливный насос и подающую топливную магистраль на повреждения (напр. смятие) и замените при необходимости. -Если допуск превышен, проверьте сливную топливную магистраль на повреждения (напр. смятие) и замените при необходимости. -Подсоедините вакуумный шланг и наблюдайте за падением давления -Давление топлива с надетым вакуумным шлангом должно упасть примерно на 0.5 Bar -Если падения давления не наблюдается: Проверьте вакуумную трубку на повреждение, также проверьте нет ли засорения трубки со стороны впускного коллектора, для чего: Заглушите двигатель, снимите вакуумную трубку с РДТ и подуйте в нее в сторону коллектора. -Замените РДТ если утечек не обнаружено и вакуум не блокирован. Остаточное давление -Через 10 минут после останова двигателя проверьте магистрали, манометр и РДТ на утечки топлива и если таковых не обнаружено проверьте показания по манометру: -Остаточное давление на холодном двигателе:
Дополнение по материлам Эльза
1. Проверка производительности насоса
1.1 Открутить резьбовое соединение (стрелка) и подложить под вытекающее топливо ветошь (момент затяжки 22 Нм)
1.2 Подсоединить манометр -V.A.G 1318- при помощи адаптера -V.A.G 1318/12- к подающему топливопроводу. – Насадить шланг -V.A.G 1318/1- на адаптер -V.A.G 1318/11-манометра -V.A.G 1318- и вставить его в мерный сосуд. – Открыть запорный кран манометра -V.A.G 1318-. Рычаг указывает пропускное направление -A-. – Снять крышку колодки предохранителей.
1.3. Вытащить предохранитель № 28 из держателя. – Подключить пульт ДУ -V.A.G 1348/3A- с кабелем-адаптером -V.A.G 1348/3–2- к контакту 28a топливного насоса и положительному выводу АКБ (+).
Минимальная производительность см3/30 сек **) Напряжение на топливном насосе при неработающем двигателе и работающем насосе (примерно на 2 В меньше, чем напряжение АКБ). Пример: Во время проверки на АКБ замеряется напряжение, равное12,2 Вольт. Так как напряжение на насоса прим. на 2 Вольта меньше, чем напряжение аккумулятора, получается минимальная подача в 550 см3/30 сек.
– Отсоединить подающий топливопровод -1- от входа топливного фильтра. – Подсоединить манометр -V.A.G 1318- с помощью адаптера -V.A.G 1318/10- к шлангу. – Повторить проверку производительности.
Вариант номер 2 :
Номинальная производительность топливоподачи достигнута, однако неисправность в системе питания все еще не исключена, например временный выход из строя системы питания:
– Подключить мультиметр -V.A.G 1715- с помощью токоизмерительных клещей к проводу 4-контактного штекера контакт 1 (Стрелка). – Завести двигатель и оставить работать на холостом ходу. – Измерить энергопотребление топливного насоса. Номинальное значение: макс. 8 Ампер
Если ошибка в системе питания появляется лишь время от времени, то проверка может быть проведена также во время пробной поездки, однако для этого необходим второй специалист.
2. Проверка обратного клапана бензонасоса
Данная проверка одновременно является проверкой соединительных контактов линии подачи топлива от блока подачи топлива до места соединения с манометром -V.A.G 1318- на герметичность.
– Закрыть кран манометра (рычаг находится перпендикулярно пропускному направлению, положение -B-). – Прерывисто включать пульт ДУ несколько раз, пока давление в системе не поднимется до 3 бар.
При слишком высоком давлении следует сбросить его, осторожно открыв кран.
– Проследить за падением давления по манометру.
– Неисправен обратный клапан топливного насоса , заменить модуль подачи топлива.
(либо мы используем обычные манометры с подключением в разрыв — и тогда просто пережимаем топливные магистрали — подающую или обратку, в зависимости от того, что проверяем)
3. Проверка РДТ
Подключить манометр -V.A.G 1318- с набором адаптеров -V.A.G 1318/6 + 7-7 к подающему топливопроводу -1- и топливной рампе. – Открыть запорный кран устройства измерения давления. Рычаг указывает в пропускное направление. – Вновь вставить предохранитель 28 (топливного насоса) в колодку предохранителей. – Завести двигатель и оставить работать на холостом ходу. – Измерить давление топлива. Номинальное значение: приблизительно 3,5 бар избыточного давления
Отсоединить шланг пониженного давления от регулятора давления топлива (стрелка). Давление топлива должно подняться до 4,0 бар. Если заданное значение давления не достигается: – Проверить производительность топливного насоса. Автомобили с передним приводом: → Глава Автомобили с полным приводом: → Глава Если номинальное значение достигнуто: – Выключить зажигание. – Теперь проверить герметичность и остаточное давление. Для этого проследить за падением давления по манометру. По истечении 10 минут должно сохраняться давление не менее 2,0 бар.
















