В статье рассмотрим, как изготовить стробоскоп для зажигания своими руками. Это позволит сэкономить средства и точно настраивать систему зажигания автомобиля. Стробоскоп — важный инструмент для диагностики и регулировки работы двигателя, помогающий выявить проблемы и оптимизировать его работу. Предоставим пошаговую схему установки, список необходимых материалов и советы по настройке, что сделает процесс создания стробоскопа доступным для новичков.
Что такое стробоскоп для зажигания
Стробоскоп — устройство для наблюдения за быстро движущимися объектами. Он освещает их яркими вспышками света, синхронизированными с частотой движения, что создает эффект неподвижности. В автомобильном двигателе стробоскоп помогает определить угол опережения зажигания, синхронизируя вспышки с импульсами зажигания первого цилиндра и освещая метки верхней мертвой точки (ВМТ) и шкив коленвала.
Заводские стробоскопы используют безынерционные импульсные лампы, что позволяет настраивать угол опережения даже при ярком солнечном свете. Однако такие лампы имеют ограниченный срок службы и могут быть труднодоступны. С появлением светодиодов яркостью более 2000 мкд, изготовление стробоскопа своими руками стало проще. Например, световой поток светодиодов значительно превышает параметры традиционных ламп: у АЛ307 при аналогичном токе яркость составляет всего 10–16 мкд.
Эксперты в области электроники утверждают, что изготовление стробоскопа для зажигания своими руками — это увлекательный и полезный проект для автолюбителей. Для начала необходимо собрать основные компоненты: светодиоды, резисторы, транзисторы и источник питания. Важным этапом является правильное подключение элементов, что требует внимательности и знаний основ схемотехники. Специалисты рекомендуют использовать готовые схемы, доступные в интернете, чтобы избежать ошибок. Также стоит обратить внимание на безопасность: работа с электрическими компонентами требует осторожности. В результате, правильно собранный стробоскоп не только поможет в диагностике зажигания, но и станет отличным дополнением к гаражному оборудованию.

Материалы для стробоскопа
Предлагаемая для изготовления своими руками схема стробоскопа проста и не требует сложной настройки. Чтобы сделать простой стробоскоп для корректировки момента опережения зажигания своими руками, понадобятся следующие инструменты, детали и материалы:
- Карманный фонарик с достаточно большим отсеком для батареек.
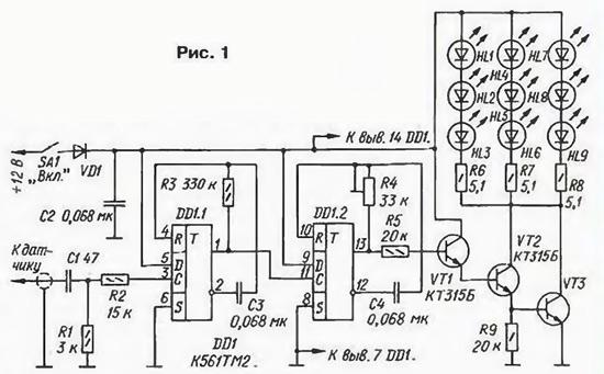
- Светодиоды КИПД21П-К – 9 шт.
- Микросхема К561ТМ2 (два двухступенчатых D-триггера). Российские аналоги: К176ТМ2, 564ТМ2; импортный аналог – CD4013/HEF4013.
- Транзистор КТ315Б – 2 шт. (VT1, VT2); КТ815А – 1шт. (VT3).
- Подстроечный резистор СПЗ-196 или СП5-1 сопротивлением 33 кОм.
- Постоянные резисторы 5,1 Ом – 3 шт., 3 кОм – 1 шт., 15 кОм – 1 шт., 20 кОм – 2 шт., 330 кОм – 1 шт., мощностью не менее 0,125 Вт.
- Диод КД213 или любой другой средней мощности с Uобр. макс не менее 16 В.
- Неполярные конденсаторы КМ-5, К73-9 или другие. С1 должен быть рабочим напряжением не менее 200 В остальные не меньше 16 В. 0,068 мкФ – 3 шт., 47 пФ – 1 шт.
- Любой тумблер для включения питания устройства.
- 1 м экранированного провода (например, антенного).
- 3 зажима «крокодил».
- Небольшой кусочек фольгированного текстолита толщиной 1 мм.
- Многожильный двойной изолированный медный провод – 1,5 м.
- Клеевой пистолет.
- Паяльник, припой, флюс.
| Компонент | Характеристики | Источник/Замечания | 
|---|---|---|
| Транзистор (например, 2N2222) | N-P-N, средняя мощность, высокая частота переключения | Радиорынок, старые платы | 
| Конденсатор | 100-470 нФ, высоковольтный (минимум 400В) | Радиорынок | 
| Резистор | 1-10 кОм (для базы транзистора), 100 Ом (для коллектора) | Радиорынок | 
| Катушка зажигания | От мотоцикла или автомобиля (низковольтная) | Авторазборка, старые устройства | 
| Источник питания | 12В (аккумулятор) | Автомобильный аккумулятор | 
| Кнопка | Кнопка включения/выключения | Радиорынок | 
| Провода | Изолированные провода | Радиорынок, старые устройства | 
| Корпус | Пластиковый или металлический (для защиты) | Подручные материалы | 
Интересные факты
Вот несколько интересных фактов о том, как изготовить стробоскоп для зажигания своими руками:
- 
Принцип работы стробоскопа: Стробоскоп для зажигания работает на основе создания светового импульса, который синхронизируется с работой двигателя. Это позволяет визуально определить момент зажигания, что особенно полезно для настройки угла опережения зажигания. Используя светодиоды и простую схему на транзисторах, можно создать эффективный стробоскоп, который будет работать от бортовой сети автомобиля. 
- 
Использование фотодиодов: В некоторых самодельных стробоскопах используются фотодиоды для определения частоты вращения коленчатого вала. Это позволяет точно синхронизировать световой импульс с моментом зажигания. Такой подход требует минимальных затрат и может быть реализован даже с использованием старых деталей от радиоприемников. 
- 
Простота сборки: Создание стробоскопа для зажигания не требует сложных компонентов или глубоких знаний в электронике. Существует множество схем, доступных в интернете, которые можно собрать на основе простых деталей, таких как резисторы, конденсаторы и транзисторы. Это делает проект доступным для любителей и автолюбителей, желающих самостоятельно настроить свои автомобили. 

Конструкция стробоскопа для зажигания
Корпус стробоскопа будет выполнен из фонарика. Сборка схемы осуществляется методом навесного монтажа. После завершения сборки схема заливается горячим пластиком с помощью клеевого пистолета и помещается в отсек для батареек фонарика. Питающие и сигнальные кабели выводятся наружу через просверленные отверстия в корпусе. К концам проводов питания припаиваются зажимы с указанием полярности. Антенный кабель подключается к входу стробоскопа, а к центральной жиле входного кабеля припаивается зажим «крокодил».
После подключения стробоскопа к автомобилю он будет принимать импульсы синхронизации от высоковольтного провода зажигания. Для этого достаточно надеть его на изоляцию высоковольтного провода зажигания первого цилиндра двигателя. Импульс синхронизации будет проходить через емкость, создаваемую центральной жилой провода зажигания и зажимом. Таким образом, самодельный емкостной датчик будет состоять из зажима «крокодил», установленного на высоковольтный провод.
Создать световой излучатель проще всего, собрав группу светодиодов, расположенных близко друг к другу в центре диска из фольгированного текстолита. Устанавливать его следует так, чтобы светодиоды, проходя через отверстие для лампочки в отражателе, находились как можно ближе к месту расположения нити накаливания. Текстолит можно прикрепить к рефлектору с помощью клеевого пистолета.
Питание стробоскопа для зажигания
Питание прибора происходит от бортовой электрической сети авто. Диод VD1 предохраняет устройство от случайного подключения питания обратной полярности. Импульс синхронизации с емкостного датчика через цепь C1, R2 подается на вход триггера DD1.1, включенного как ждущий мультивибратор. Импульс высокого уровня запускает ждущий мультивибратор, триггер при этом переключается. А конденсатор С3, заряженный в исходном состоянии, начинает перезаряжаться через резистор R3. Приблизительно через 15 мс этот конденсатор перезарядится настолько, что напряжение на входе R вновь сбросит триггер в исходное состояние.
Так ждущий мультивибратор реагирует на каждый положительный импульс с емкостного датчика, вырабатывая синхронно входному прямоугольный выходной импульс высокого уровня постоянной длительности (15 мс). Последняя определяется номиналами резистора R3 и конденсатора C3. Последовательность этих импульсов с неинвертирующего выхода триггера DD1.1 поступает на вход второго ждущего мультивибратора, собранного по аналогичной схеме на триггере DD1.2. Длительность импульсов второго узла достигает 1,5 мс и определяется параметрами резистора R4 и конденсатора C4. Выходное напряжение второго триггера открывает триоды VT1 – VT3, и через светодиоды проходят импульсы тока величиной от 0,7 до 0,8 А.

Некоторые тонкости
Хотя ток через светодиоды превышает допустимые значения (максимально разрешенный прямой импульсный ток — 100 мА), перегрев и выход из строя не ожидаются. Это связано с короткой продолжительностью импульсов и их скважностью не менее 15. Яркость девяти светодиодов позволяет использовать устройство даже в дневное время.
Редакция журнала «Радио» сообщает о проведенных испытаниях устройства.
Светодиоды выдержали импульсный ток в 1 А в течение часа без перегрева. Обычно время работы с прибором не превышает 5 минут, и ток через светодиоды в данной конструкции ниже.
Основная задача ждущего мультивибратора на триггере DD1.1 — защита светодиодов от повреждений при увеличении частоты вращения коленвала. Прибор используется при частоте вращения, близкой к холостому ходу (800–1200 об/мин). Длительность вспышек постоянна, поэтому при увеличении частоты вращения коленвала скважность импульсов тока через светодиоды уменьшается, что может привести к их нагреву. Длительность импульсов ждущего мультивибратора выбрана так, чтобы при 2000 об/мин скважность выходной последовательности импульсов приближалась к 1. При дальнейшем увеличении частоты вращения и входных импульсов происходит сбой синхронизации выходных импульсов, и узел начинает генерировать последовательность импульсов усредненной частоты, что менее опасно для светодиодов.
Как настроить стробоскоп для зажигания
Опытным путем установлено, что длительность вспышек должна быть от 0,5 до 0,8 мс. При меньшей длительности вспышек во время установки угла опережения с помощью стробоскопа велико ощущение недостатка света. Если же длительность больше, то движущаяся метка как бы размазывается. Необходимую длительность легко подобрать своими руками не измеряя, а руководствуясь только зрительными ощущениями. Регулируется она с помощью подстроечного резистора R4. Больше схема ни в каких настройках не нуждается.
Как использовать стробоскоп для зажигания
Для настройки угла опережения зажигания используйте специальное устройство для освещения установочных меток при работе двигателя на холостых оборотах. Одна метка расположена на движущихся элементах, таких как шкив коленвала или маховик, а вторая — на крышке блока цилиндров или корпусе трансмиссии. Если подвижная метка совпадает с неподвижной, зажигание настроено правильно.
Если метки не совпадают, измените положение трамблера. Для задержки момента зажигания поверните трамблер по направлению вращения бегунка, для его опережения — в противоположную сторону. Если искрообразование контролируется микропроцессором, проверьте датчик на неисправность или обратитесь к специалистам.
Устранение распространенных проблем при использовании стробоскопа
При использовании стробоскопа для зажигания могут возникать различные проблемы, которые могут повлиять на его эффективность и точность. Важно знать, как их выявлять и устранять, чтобы обеспечить правильную работу устройства и избежать повреждений двигателя.
1. Неправильная настройка угла зажигания
Одной из самых распространенных проблем является неправильная настройка угла зажигания. Это может произойти из-за неправильного подключения стробоскопа или из-за ошибок в установке меток на маховике. Чтобы устранить эту проблему, убедитесь, что стробоскоп правильно подключен к системе зажигания, а также проверьте, что метки на маховике и корпусе двигателя совпадают. Если метки не совпадают, необходимо отрегулировать угол зажигания, следуя рекомендациям производителя.
2. Неправильное подключение стробоскопа
Если стробоскоп не включается или показывает некорректные данные, это может быть связано с неправильным подключением. Убедитесь, что щупы стробоскопа правильно подключены к высоковольтным проводам зажигания. Также проверьте, что устройство получает питание. Если стробоскоп работает от аккумулятора, убедитесь, что аккумулятор заряжен и исправен.
3. Проблемы с проводами и соединениями
Изношенные или поврежденные провода могут привести к неправильной работе стробоскопа. Проверьте все соединения на наличие коррозии, повреждений или ослабленных контактов. Если вы обнаружите проблемы, замените поврежденные провода или очистите соединения. Также стоит обратить внимание на состояние высоковольтных проводов, так как их неисправность может повлиять на работу стробоскопа.
4. Неправильная работа двигателя
Если двигатель работает нестабильно или имеет проблемы с зажиганием, это может повлиять на показания стробоскопа. В таких случаях рекомендуется сначала устранить проблемы с двигателем, такие как неправильная работа свечей зажигания, неисправности в системе подачи топлива или проблемы с компрессией. После устранения этих проблем можно снова проверить угол зажигания с помощью стробоскопа.
5. Неправильный выбор режима работы стробоскопа
Некоторые стробоскопы имеют несколько режимов работы, и выбор неправильного режима может привести к некорректным показаниям. Ознакомьтесь с инструкцией к вашему устройству и убедитесь, что вы используете правильный режим для вашего типа двигателя и системы зажигания.
Устранение этих распространенных проблем поможет вам эффективно использовать стробоскоп для зажигания и обеспечит надежную работу вашего двигателя. Регулярная проверка и обслуживание как стробоскопа, так и системы зажигания в целом помогут избежать многих неприятностей и продлить срок службы вашего автомобиля.
Вопрос-ответ
Можно ли сделать стробоскоп?
Для этого проекта вам понадобятся любые лампочки, которые подойдут, и очень важный элемент — неоновый стартер, который можно найти в магазинах товаров для дома. Для создания светодиодного стробоскопа возьмите обычные светодиодные лампочки и протестируйте их. Затем попробуйте использовать цветные лампочки, просто подключив лампочку и неоновый стартер последовательно. Наслаждайтесь!
Как проверить угол зажигания стробоскопом?
Произведите запуск автомобиля и, дав ему поработать, дождитесь стабилизации оборотов на холостом ходу. Ослабьте крепежный болт, предотвращающий поворот трамблера. Далее возьмите стробоскоп и направьте его лампу на шкив коленчатого вала. Таким образом, вы сможете осветить метку на корпусе и риску на двигателе.
Как работает стробоскоп для зажигания?
Стробоскоп подключается к системе зажигания авто, и когда свеча зажигания срабатывает, стробоскоп пускает вспышку света. Данные вспышки синхронизированы с вращением коленчатого вала ДВС. Двигатель запускается на холостых оборотах. Также предварительно должны быть расставлены метки.
Какие бывают стробоскопы?
В зависимости от конструктивных особенностей устройства делятся на: – оптико-механические: для прерывания светового луча используются диски с прорезями; – осциллографические: применяются для диагностики электрических цепей; – электронные: вспышки света генерируются лампой с электронным контроллером.
Советы
СОВЕТ №1
Перед началом сборки стробоскопа, тщательно изучите схему устройства и принцип его работы. Это поможет вам лучше понять, как правильно подключать компоненты и избежать ошибок в процессе сборки.
СОВЕТ №2
Используйте качественные компоненты, такие как резисторы, конденсаторы и транзисторы. Это обеспечит надежность работы стробоскопа и продлит срок его службы.
СОВЕТ №3
Обязательно соблюдайте технику безопасности при работе с электрическими компонентами. Используйте защитные очки и перчатки, а также работайте в хорошо проветриваемом помещении, чтобы избежать неприятных ситуаций.
СОВЕТ №4
После завершения сборки протестируйте стробоскоп на низких оборотах двигателя, прежде чем использовать его в полевых условиях. Это позволит убедиться в правильности работы устройства и избежать возможных поломок.

 


 
 
 
 
							
							
						 
							 
 
